Rechtspraak  

IEF 22041

Gerecht EU: niet alleen uiterlijk model belangrijk, maar ook gebruik ervan

Gerecht EU (voorheen GvEA) 10 apr 2024, IEF 22041; ECLI:EU:T:2024:223 (M&T tegen VDS), https://itenrecht.minab.nl/artikelen/gerecht-eu-niet-alleen-uiterlijk-model-belangrijk-maar-ook-gebruik-ervan

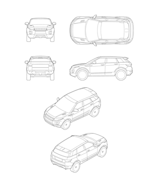
Gerecht EU 10 april 2024 IEF 22041; ECLI:EU:T:2024:223 (M&T tegen VDS). In deze uitspraak benadrukt het Gerecht EU dat het daadwerkelijke gebruik van het product waarin het ontwerp is opgenomen een belangrijke factor is bij het bepalen welke kenmerken van het ontwerp bijzonder relevant zijn voor de goed geïnformeerde gebruiker. Op 23 oktober 2020 heeft VDS een verzoek ingediend voor een verklaring van nietigheid op basis van gebrek aan individueel karakter van het geregistreerde Gemeenschapsmodel van M&T. Het gaat om een model voor een deur- en raamhendel. Het EUIPO verklaarde het model nietig omdat het dezelfde algehele indruk maakte als het eerder genoemde ontwerp. De Raad van Beroep van de EUIPO (BoA) wees het beroep af. M&T heeft beroep aangetekend bij het Gerecht. De beslissing van de BoA is vervolgens geannuleerd door het Gerecht.

IEF 22006

Uitspraak ingezonden door Maarten Rijks en Margot van Gerwen, Taylor Wessing.

Loungeset van Borek maakt geen inbreuk op IE-rechten Varico c.s.

Rechtbanken 22 apr 2024, IEF 22006; C/09/662217 / KG ZA 24-174 (Varico c.s. tegen Borek), https://itenrecht.minab.nl/artikelen/loungeset-van-borek-maakt-geen-inbreuk-op-ie-rechten-varico-c-s

Rb. Den Haag 22 april 2024, IEF 22006; C/09/662217 / KG ZA 24-174 (Varico c.s. tegen Borek). Varico is rechthebbende op de intellectuele eigendomsrechten die rusten op het Suns tuinmeubilair. Sunsit beschikt over een licentie voor het gebruik van deze rechten. In 2020 heeft Varico de ‘Kota’ en ‘Aspen’ loungesets op de markt gebracht. Het verschil tussen de twee loungesets zit in het gebruikte materiaal voor de randen, aluminium bij de Kota en teakhout bij de Aspen. Borek is een bedrijf dat zich bezighoudt met de ontwikkeling en productie van tuinmeubilair. Voor het seizoen van 2024 biedt Borek een modulaire loungeset aan onder de naam ‘Yoi Vallon’. Net als de Kota en de Aspen bestaat de Yoi Vallon ook uit verschillende elementen die met elkaar gecombineerd kunnen worden. Bij brief van 23 januari 2024 heeft Varico c.s. Borek gesommeerd iedere inbreuk op de auteursrechten en Gemeenschapsmodelrechten met betrekking tot de Kota te staken en gestaakt te houden. In deze kortgedingprocedure vordert Varico c.s. een inbreukverbod. Zij legt hieraan primair ten grondslag dat Borek inbreuk maakt op haar Gemeenschapsmodellen als bedoeld in artikel 19 lid 1 GModVo. Ook voert zij aan dat sprake is van auteursrechtinbreuk en een onrechtmatige daad in de zin van artikel 6:162 BW. Borek betwist dit.

IEF 21895

Procedure betreffende Longchamps tas wordt niet geschorst

Rechtbank Den Haag 20 nov 2023, IEF 21895; ECLI:NL:RBDHA:2023:17282 (Longchamp c.s. tegen Yehwang), https://itenrecht.minab.nl/artikelen/procedure-betreffende-longchamps-tas-wordt-niet-geschorst

Rb. Den Haag 15 november 2023, IEF 21895; ECLI:NL:RBDHA:2023:17282 (Longchamp c.s. tegen Yehwang) Longchamp is een Frans modebedrijf, bekend van de ‘Le Pliage’ tas. Deze is ontworpen door Philippe Cassegrain (eisers hierna samen: Longchamp c.s.). Van ‘Le Pliage’ is een nieuwe variant op de markt gekomen, genaamd ‘Le Pliage Filet’, die hierboven te zien is. Deze tas is geregistreerd als Gemeenschapsmodel. Yehwang is een groothandel en levert onder andere tassen aan retailers. Een van de tassen die zij aanbiedt is een één op één kopie van ‘Le Pliage Filet’, die Yehwang onder de naam ‘Trendy shopper bag with leather handle’ aanbood.  Gezien Yehwang na sommatie de verkoop van deze tas niet is gestaakt, heeft Longchamp c.s. een procedure gestart en vordert staking van inbreuk op het modelrecht, danwel het niet-geregistreerde modelrecht en/of auteursrecht dat aan Jean Cassegrain toekomt. Yehwang voert verweer en stelt incidentele vorderingen in die ertoe strekken dat Longchamp niet-ontvankelijk wordt verklaard, danwel dat de procedure geschorst dient te worden aangezien er een procedure bij het EUIPO aanhangig is betreffende de (on)geldigheid van het model. Ook betwist Yehwang dat aan Jean Cassegrain enig auteursrecht toekomt.

IEF 21859

Het Gerecht van de Europese Unie bevestigt bescherming van Lego-blokjes

Gerecht EU (voorheen GvEA) 24 jan 2024, IEF 21859; ECLI:EU:T:2024:22 (Delta Sport tegen EUIPO), https://itenrecht.minab.nl/artikelen/het-gerecht-van-de-europese-unie-bevestigt-bescherming-van-lego-blokjes

Gerecht van de Europese Unie 24 januari 2024,IEF 21859,IEFBe 3712 ; ECLI:EU:T:2024:22 (Delta Sport tegen EUIPO) Deze zaak gaat over een juridisch geschil met betrekking tot een geregistreerd gemeenschapsmodel voor bouwstenen van Lego. Eerder oordeelde het EUIPO dat het gemeenschapsmodel ongeldig was, omdat alle kenmerken van het uiterlijk van het product werden bepaald door de technische functie ervan. In deze zaak dient er weer gekeken te worden of het gemeenschapsmodel geldig is, waarbij de kern van het debat draait om de technische functie van de betrokken productkenmerken en of ze onder de bescherming van de wet vallen

IEF 21827

Uitspraak ingezonden door Allard Ringnalda, Klos cs.

Niet onrechtmatig gewapperd met Model

Rechtbanken 27 dec 2023, IEF 21827; C/09/653415/KG ZA 23-744 (Rodachair International B.V. tegen Bungarten GMBH), https://itenrecht.minab.nl/artikelen/niet-onrechtmatig-gewapperd-met-model

Vzr. Rb. Den Haag 27 december 2023, IEF 21827;C/09/653415/KG ZA 23-744 (Rodachair International B.V. tegen Bungarten GMBH) Rodachair International B.V. (hierna: Rodachair) drijft een groothandel, waaronder bedrijfsstoelen. Rodachair heeft een stoel ontwikkeld die bestemd is voor gebruik in een kinderopvang. Deze is rechts op de afbeelding te zien. Bungarten is een bedrijf dat producten levert die gebruikt worden in een kinderopvang. Eén van haar producten is de stoel links op de afbeelding, waarvoor Bungarten een modelregistratie heeft gedaan. 

IEF 21240

HvJ EU: onderkant fietszadel zichtbaar bij 'normaal gebruik'?

HvJ EU 16 feb 2023, IEF 21240; ECLI:EU:C:2023:105 (Monz tegen Büchel), https://itenrecht.minab.nl/artikelen/hvj-eu-onderkant-fietszadel-zichtbaar-bij-normaal-gebruik

HvJ EU 16 februari 2023; IEF 21240; IEFbe 3620; ECLI:EU:C:2023:105, C‑472/21 (Monz tegen Büchel) Monz is een Duitse vennootschap die houder is van een model dat reeds sinds 2011 is ingeschreven bij het Duits octrooi- en merkenbureau (hierna: het DPMA). Het model is ingeschreven voor de voortbrengselen ‘fiets- en motorfietszadels’ met één enkele afbeelding van de onderkant van een zadel. Büchel heeft het DPMA verzocht dit model nietig te verklaren. Het zou namelijk niet voldoen aan de voorwaarden, nu het model is toegepast op een zadel – een onderdeel van een samengesteld voortbrengsel zoals een (motor)fiets – dat bij normaal gebruik van dat voortbrengsel niet zichtbaar is.

IEF 15732

Hernieuwing van modelrecht voor bandprofielen afgewezen

Gerecht EU 23 februari 2016, IEF 15732; ECLI:EU:T:2016:92; gevoegde zaken T-279/15 tot en met T-282/15 (Pirelli Tyre)
Gemeenschapsmodelrecht bestaande uit profiel voor autobanden. Er ontbreekt een verlengingsaanvraag voor het ontwerp na het verlopen van de modelregistratie. Verzoek om herstel en vernieuwing van het modelrecht wordt afgewezen.

21      Il s’ensuit que la chambre de recours n’a pas commis d’erreur de droit en considérant que, en l’espèce, il y avait lieu de vérifier l’observation, par le mandataire agréé, de toute la vigilance nécessitée par les circonstances.
24      Ensuite, si les listes de surveillance communiquées en 2007 au mandataire agréé, à la suite du choix de retirer la mission de renouvellement des dessins ou modèles communautaires multiples à la société spécialisée et de la confier audit mandataire agréé, ne comportaient certes pas, à la suite d’une erreur imputable à la requérante, de référence aux dessins ou modèles communautaires multiples en cause, il n’en demeure pas moins que, depuis 2003, le mandataire agréé était chargé, au nom et pour le compte de la requérante, de la gestion d’un nombre important de dessins ou modèles communautaires lui appartenant, dont les dessins ou modèles communautaires en cause, qu’il a d’ailleurs lui-même déposés, en sa qualité de mandataire, en 2003. Ainsi, le mandataire agréé ne pouvait ignorer, en raison de son expérience et de son expertise en la matière, les conséquences préjudiciables, pour la requérante, liées à l’expiration du délai de renouvellement de dessins ou modèles communautaires multiples.

29      Quant à l’argumentation de la requérante relative à la bonne réception, par le mandataire agréé, des avis d’expiration du 6 septembre 2012 et par laquelle elle fait valoir que ces communications n’auraient jamais été mentionnées tant dans les décisions du 13 mars 2014 du département « Soutien aux opérations » que dans les décisions attaquées, de sorte qu’elles n’auraient fait l’objet d’aucun débat contradictoire, il suffit de relever, pour l’écarter, qu’il ressort des éléments du dossier que la requérante n’a jamais allégué, dans le cadre de la procédure devant l’OHMI, qu’il s’agisse tant de ses requêtes initiales en restitutio in integrum que de ses recours introduits devant le chambre de recours contre les décisions du 13 mars 2014 du département « Soutien aux opérations » de l’OHMI rejetant ces demandes, que la preuve de la bonne réception, par le mandataire agréé, des avis d’expiration du 6 septembre 2012, n’avait pas été rapportée. Il ressort également des éléments du dossier que l’OHMI a, tant dans les décisions du 13 mars 2014 du département « Soutien aux opérations » que dans les décisions attaquées, tenu cet élément de fait pour acquis.
IEF 15729

In alle opzichten wijkt de gedecoreerde klomp af van het model

Vzr. Rechtbank Overijssel 22 februari 2016, IEF 15729; ECLI:NL:RBOVE:2016:600 (Modelrecht gedecoreerde klompen)
Uitspraak ingezonden door Martijn Kortier, Kienhuis Hoving. Eiser heeft een Benelux modelrecht laten registreren voor 'decoratieve klompen voorzien van sierstenen' en ziet dat Chopra ook gedecoreerde klompen te koop aanbiedt. De voorzieningenrechter is van oordeel dat er vanuit moet worden gegaan van de modelregistratie en dat die registratie zich, gelet op de beschrijving en de bijgevoegde tekening, niet (mee) uitstrekt tot het voorkomen van een klomp. Er is een andere algemene dan wel totaalindruk dan het geregistreerde model. In alle opzichten, materialen(soorten) van klomp en steentjes en decoratie(dessin) wijkt de klomp van Chopra immers (te) veel af van het model voor een auteursrechtinbreuk. Vorderingen worden afgewezen.

4.9. Ingevolge artikel 3.1. van het Benelux-verdrag inzake de intellectuele eigendom (BVIE) wordt het uiterlijk van een voortbrengsel afgeleid uit de kenmerken van met name de lijnen, de omtrek, de kleuren, de vorm, de textuur of de materialen van het voortbrengsel zelf of de versiering ervan.
De voorzieningenrechter is van oordeel dat de beoordeling in dit geschil uit moet worden gegaan van de modelregistratie en dat die registratie zich, gelet op de beschrijving en de bijgevoegde tekening, niet (mee) uitstrekt tot het voorkomen van een klomp. Gelet op de beschrijving van het product en de features en op de bijbehorende representation gaat het immers om (een geheel van) decorations voor een klomp in de daarbij vermelde kleuren. De klompvorm is slechts indicatief (met een stippellijn) en kleurloos weergegeven op de tekening.

4.10 Naar het voorlopig oordeel van de voorzieningenrechter kan (...) redelijkerwijze niet staande worden gehouden dat het product van Chopra eenzelfde algemene dan wel totaalindruk wekt als het model van Eiser.
Daarbij kan er zelfs nog van worden afgezien dat beide producten geen (niet in alle gevallen bij de afbeeldingen van Chopra direct zichtbare) overeenkomst vertonen wat betreft textuur en materiaal van de klompen zelf, welke verschillen Eiser immers zelf reeds heeft bevestigd.

4.15 (...) De klomp van Chopra afgezet tegen de klomp volgens het geregistreerde model, brengt de voorzieningenrechter in ieder geval tot het voorlopig oordeel dat niet gesproken kan worden van een auteursrechtelijk inbreuk. In alle opzichten, materialen(soorten) van klomp en steentjes en decoratie(dessin) wijkt de klomp van Chopra immers (te) veel af van het model (...)

IEF 15719

Eivormige lippenbalsem is geldig, bolvormig model ongeldig

OHIM Invalidity Division 17 februari 2016, IEF 15719 (JPMC tegen EosProduct-Ei-vorminge lippenbalsem) en (Bolvorminge lippenbalsem)
Modellenrecht. Beslissing ingezonden door Margot van Gerwen, Wim Maas en Ilse Werts, TaylorWessing. Zie eerder IEF 15088/ IEFbe 1425. Het gaat in beide zaken over de nietigheid van twee geregistreerde gemeenschapsmodellen, namelijk een eivormige lippenbalsem en een bolvormige lippenbalsem. Het OHIM wijst de aanvraag tot nietigverklaring van het eivormige model af. Het OHIM wijst de aanvraag tot nietigverklaring van het bolvormige model toe en verklaart het gemeenschapsmodel ongeldig.

De eivormige lippenbalsem:

CONCLUSION
The facts and evidence submitted by the applicant do not support the grounds for invalidity under Article 25(1)(b) CDR; therefore, the application is rejected.

De bolvormige lippenbalsem:

CONCLUSION
The facts and evidence provided by the applicant support the grounds for invalidity under Article 25(1)(b) in conjunction with Articles 6 CDR; therefore, the application is upheld and the RCD is declared invalid.

IEF 15706

HR: Verbod fietsmand met dwangsom met zelfde inhoud en strekking mag op andere rechtsgrond

HR 19 februari 2016, IEF 15706; ECLI:NL:HR:2016:268 (Burgers Lederwarenfabriek tegen Basil)
Auteursrecht. Beschermingsomvang niet-geregistreerd gemeenschapsmodel. Een in eerste aanleg gegeven bevel met dwangsom kan in hoger beroep worden vervangen door eenzelfde bevel op andere grondslag, met dezelfde oorspronkelijke ingangsdatum, mits de gedragingen waartegen de houder van een niet-ingeschreven gemeenschapsmodel zich kan verzetten in alle gevallen ook als inbreukmakend op een auteursrecht gelden. Dat is het geval, en ook voor de door het hof bekrachtigde nevenveroordelingen. De HR verwerpt het principale beroep.

3.3.2. (...) Het staat de appelrechter vrij een in eerste aanleg uitgesproken veroordeling in hoger beroep te vervangen door eenzelfde veroordeling, berustend op een andere rechtsgrond, met handhaving van de datum van ingang waarvoor de eerste veroordeling gold, ook als daaraan een dwangsom is verbonden, mits de veroordeling op de nieuwe rechtsgrond niet meer of andere gedragingen bestrijkt dan de eerdere. Dan treft de in hoger beroep uitgesproken veroordeling immers geen andere handelingen dan die de gedaagde na de in eerste aanleg uitgesproken veroordeling ook al gehouden was te verrichten of na te laten.

3.3.3. De Gemeenschapsmodellenverordening biedt ingevolge art. 19 lid 2 aan niet-ingeschreven modellen slechts dan bescherming, indien het aangevochten gebruik van het model voortvloeit uit het namaken van het beschermde model. Dat brengt mee dat, ook met inachtneming van hetgeen hierna wordt overwogen met betrekking tot onderdeel 3, de gedragingen waartegen de houder van een niet-ingeschreven gemeenschapsmodel zich kan verzetten in alle gevallen ook als inbreukmakend op een auteursrecht gelden.
Ook voor de door het hof bekrachtigde nevenveroordelingen geldt dat zij het verrichten van bepaalde handelingen bevelen (terugroeping van producten en plaatsing van een rectificatie) die voor het geval van inbreuk op auteursrechten en dat van inbreuk op niet-geregistreerde modelrechten eender zijn. Het hof heeft de veroordeling bovendien, gelet op art. 11 lid 1 GModVo, beperkt tot gebruik gedurende drie jaren na de hiervoor in 3.1 onder (iii) vermelde datum. Van een ‘andere veroordeling’ als bedoeld in het arrest HR 31 mei 2002, ECLI:NL:HR:2002:AE3437, NJ 2003/343 is daarom geen sprake.